一、客户背景
该制造业企业是一家科技型公司,在业务领域内虽有一定知名度,但官网品牌整体曝光度较低,市场认知度不足,无法吸引潜在客户。

二、制造型企业的官网难点
在查看客户的原网站后,团队进行了多达54项的官网诊断,分析该网站目前存在的问题如下
1.原网站整体布局动线不足,无法系统展示业务范围、技术优势及案例成果,潜在客户难以获取企业核心信息。
2.缺少转化路径,潜在客户难以及时联系销售人员,影响潜在客户留存与合作洽谈效率。
小总结:大部分的科技型企业官网倾向于多展示技术优势,但缺乏与潜在客户沟通的渠道,这也是众里寻他团队后续为该企业服务的核心优化动作之一。

三、解决方案——专属建站升级服务,带动业务转化
众里寻他为该企业提供专属网站升级服务,围绕核心业务关键词与企业业务重点优化官网:
1.页面设计:突出核心业务,设置 “公司介绍”“人员介绍”‘“荣誉证明”“服务范围”“技术展示”“设备展示”“企业动态” 等板块,直观呈现企业技术实力与服务能力。

2.功能搭建:嵌入在线咨询模块,方便访客实时沟通;优化页面加载速度与移动端适配效果,提升用户浏览体验;同步确保网站符合搜索引擎抓取规则,为后续 SEO 优化奠定基础。

3.快速上线:一个月完成官网正式上线,上线后快速打通企业与客户的线上连接通道。
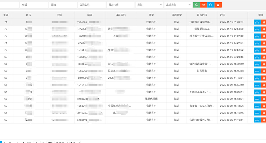
四、服务成果:上线三个月累计突破50+
1.咨询量提升:官网上线后,五天内就收到4个客户留言,在后续服务范围内,3个月累计接收客户咨询50+条,成功搭建起稳定的线上客户咨询渠道,解决了此前客户沟通不便的问题。

2.收录效果:通过整体的官网搭建与页面规划服务,官网收录比达到 100%,确保搜索引擎可全面抓取网站内容,为后续关键词排名提升与流量增长提供支撑。






